A beltéri fenyőajtók műszaki jellemzői:
Alapkivitelben utólag elhelyezhető tokrendszer vagy pallótok.
Ajtólap tömör fenyő, kiviteli katalógusból választható fazon, ill. egyedi igény alapján is rendelhető.
Az alapanyag lehet hossztoldott vagy toldásmentes fenyő.
A beltéri ajtó készülhet küszöb nélkül vagy küszöbbel, mely lehet keményfa anyagú, ill. automata küszöb.
Vasalat: állítható táskás pánt arany és ezüstszínben
Zár: félbiztonsági, kulcsos illetve WC zár
A kilincset és az üveget opcióként lehet kérni.
Festés: 3 rétegű gyári lazúrfestés.
A festék UV-álló, vizes bázisú vastaglazúr, színminta alapján lehet választani.
Az alapkiviteltől eltérően gyártunk még beltéri egy vagy kétszárnyú tolóajtókat, falra, ill. falközé tolható kivitelben is.
Az eltérő falvastagsághoz úgynevezett ácstok (teljes falkávát kitöltő tok) is rendelhető.
A korszerű beltéri ajtók, a tokon körbefutó gumiprofillal készülnek.
Beltéri fóliázott, furnérozott, illetve dekor felületű ajtók jellemzői:
Ajtólap: Papírrácsos, tömör forgácslap vagy üreges forgácslap kivitelben.
Tok: utólag elhelyezhető kivitelben (forgácslap vagy MDF alapanyagból)
Felülete: fóliázott (CPL), furnérozott vagy melamin-acryl
Egyszeres, a tokon körbefutó gumitömítés. Többféle méretrendszerben rendelhetők (DIN szabvány, magyar szabvány vagy egyedi méret alapján.)
Szín, a színkatalógusból választható.
Homlokzati fanyílászárók műszaki jellemzői:
Alapanyag: háromrétegű tömbösített, színoldalon fűrészfogas hossztoldott fenyőből (borovi) , igény esetén hossztoldás nélküli borovi-, vörösfenyő vagy meranti.
Szerkezeti vastagság: 68 vagy 88mm. (DIN szabvány)
Szélzárás: egyszeres vagy kétszeres gumitömítés, szilikon alapanyagú gumiprofilból.
Üvegezés: 2 vagy 3 rétegű hőszigetelt üveggel Ug=1,3-0,7 igény szerint hőszigetelt, torzításmentes üveggel, argongáz töltéssel. Biztonsági üvegezés is kérhető.
Vasalat: ROTO NT vagy GU hibás működést gátló szerkezettel, résszellőzővel.
Vízvető: Korszerű, szoknyás fém vízvető, csapóeső elleni védelmet nyújtó ablakszárnytakarással.
Kiegészítő szerelvények: Hoppe kilincs, vasalattakaró.
Festés: 3 rétegű gyári lazúrfesték
A festék UV-álló, vizes bázisú vastaglazúr, színminta alapján lehet választani.
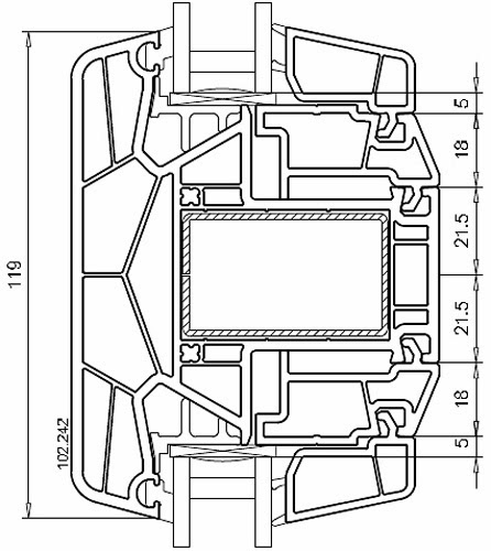
Homlokzati műanyag nyílászárók:
Profil: Veka 5 légkamrás (70mm-es), vagy 6 légkamrás (90mm-es) profilból, különböző profil geometriákkal, fehér és színes RAL színskála szerint, vagy fautánzatú fóliákkal (anyagában is színezett profilokból).
Profil: Gealan 5 légkamrás, 6 légkamrás és 7 légkamrás profilból is fehér és színes kivitelekben.
A műanyag nyílászárók tok- és szárnyprofilja horganyzott acélmerevítéssel vannak ellátva.
Üvegezés: 2 vagy 3 rétegű hőszigetelt üveggel Ug=1,3-0,7 igény szerint hőszigetelt, torzításmentes üveggel, argongáz töltéssel. Biztonsági üvegezés is kérhető.
Vasalat: ROTO NT vagy GU hibás működést gátló szerkezettel, résszellőzővel.
A Veka profilból készülő nyílászárók mikroszellőztetővel készülnek.











